流水号
简介
| 创建字段 |
|---|
![]() |
| 表单预览 |
|---|
![]() |
表单设计中经常涉及编号制作的问题,该控件为“流水号”字段,通过该字段即可轻松实现编号的自动生成。
列如:常规流水号、订单编号、唯一编码等。
字段特点
- 每个表单只能添加一个流水号字段。
- 每次访问页面都将重新生成新的流水号,以免多人访问页面出现重复编号。
字段属性
选中设计页面中的字段控件,右侧查看属性面板。
字段别名
| 字段别名 |
|---|
![]() |
“字段别名”用于后端开发,默认为系统自动生成的随机字符串,可修改。
别名命名规则:
- 字段别名在当前表下必须唯一。
- 字段别名不得为空。
- 别名只允许包含“英文大小写”、“数字”、“下划线”、“汉字”。
- 字段别名不得大于32个字符,一个汉字代表1个字符。
标题
| 标题 |
|---|
![]() |
“标题”可以修改字段名称。
标题必须填写,标题的编写有助于成员更好的识别到需要填报的内容。
显示标题
勾选【显示标题】,标题正常显示;不勾选则不显示标题。
| 显示标题 |
|---|
![]() |
类型切换
- 不支持类型切换。
描述信息
| 描述信息 |
|---|
![]() |
用于填写字段提示信息。
| 支持 | 描述 |
|---|---|
| 文本格式 | 加粗、倾斜、下划线、字体颜色、字体大小。 |
| 段落对齐 | 左对齐、居中、右对齐。 |
| 跳转链接 | http://链接 |
| 跳转表单 | @表单别名(用于应用内表单跳转) |
| 上传图片 | 上传图片图片大小不能超过 1 MB。 |
| 插入图片url | https://链接 |
流水号规则
流水号规则中,支持 4 种内容格式组合:
- 提交日期
- 固定字符
- 表单字段
- 自动计算
其中“自动计数”是默认必须添加的配置,该内容表达了流水号的数字序号。

[1] 提交日期
| 提交日期 |
|---|
![]() |
提交日期可以从以下几种“预定义格式”中进行选择。
| 格式 |
|---|
| 2015(年) |
| 201501(年月) |
| 2015-01(年-月) |
| 2015/01(年/月) |
| 2015-01-31(年-月-日) |
| 2015/01/31(年/月/日) |
| 0131(月日) |
| 01-31(月-日) |
| 01/31(月/日) |
[2] 固定字符
| 固定字符 |
|---|
![]() |
为了区分不同业务的流水号,常常会在流水号中添加固定字符。
[3] 表单字段
| 表单字段 |
|---|
![]() |
在使用流水号设计中,可能需要使用到表单中的字段来作为流水号的组成部分,那么添加表单字段即可实现。目前支持表单中的单行文本、数字、下拉框、单选按钮组作为流水号组成成分。
[4] 自动计数
| 自动计数 |
|---|
![]() |
计数位数
通过计数位数可以限制流水号最大计数值,当达到计数位数时则重新开始计数。如,当设置的计数位数为5,当计数达到99999时,则从0开始计数。
- 计数位数设置范围为2~12。
重置周期
| 重置周期 |
|---|
![]() |
设置了重置周期以后,当满足重置周期后将会以初始值再重新开始计数。
例如:
- 不自动重置:也就是添加了多少位计数位数,一直会计数下去,直到这个计数位数的最大值。
注意:如果自动计数设置了位数,就会在达到位数后自动重置。如:自动计数为2位数,当计数达到99时,则从1开始计数。
- 每日重置:不管今天计数到多大的数值,明天从00:00时刻开始,都从设置的初始值重新计数。
初始值
初始值指的是计数的初始数值,也就是从哪一个数字开始计数。初始值系统默认为1。
固定位数
默认开启,点击可切换开启/关闭状态。开启后则显示固定的位数,如,当计数位数为5,当前计数为1时,那么流水号显示则为00001;若未开启,则流水号显示为1。
字段权限
| 字段权限 |
|---|
![]() |
| 名称 | 描述 |
|---|---|
| 可见 | 默认勾选,取消后用户无法在访问页面看到此控件。 |
注意:流程表单字段的操作权限在“流程设置”-“节点属性”中定义,此处的设置无效。
布局
| 布局 |
|---|
| 1、开启“表单属性”——“电脑端表单布局”,开启“多列” 2、设置“字段属性”--布局,支持的字段宽度有:1/4、1/3、1/2、2/3、3/4 和整行 更多布局设计参考:表单布局 |
![]() |
![]() |
默认字段占整行,在开启多列布局时也可设置占据一整行。
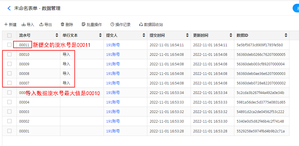
特别说明
表单数据管理导入数据,导入Excel文件的流水号,如果符合表单流水号规则,那么导入数据的流水号也计入流水号递增序列中。
示例:
假设流水号规则是5位数,目前表单流水号最大值是00005,此表单导入数据(导入数据中流水号最大值是00010),
那么下次再提交数据流水号则记录00011。
| 图示 |
|---|
![]() |
示例
演示示例
| 演示动图 |
|---|
![]() |
















