消防巡检领域案例分析
消防队作为公安系统中的服务型单位,对于各种数据处理的及时性、有效性有着极为严格的要求。随着信息技术在各领域的渗透,现代巡检工作已经配套完善的巡检大数据管理平台。
企业背景
某政府街道办管理处
需求痛点
1.数据收集时间耗时过长,影响数据时效性。
2.记录、汇总、分析数据时需要耗费大量人力物力。
3.管理的场所多且记录数据的人员记录方式不统一。
4.统计出来的数据需要人工二次验证才能保证准确性。
解决方案
六米云搭建的消防巡查系统,记录数据后,借助消防大数据、巡查记录表单等一系列功能应用,协助机构及时掌握场所情况,如发生事故,能在最快时间内做出相应处理。
巡检设备地图
当需要跨区域进行设备巡检工作时,地图报表便于工作人员快速定位设备地址,寻址控件还能实现路线查看。
![]() |
扫码上传巡检设备信息
在移动端可以通过扫码录入巡检的设备信息,每台设备绑定唯一设备号,能够直接匹配设备初始信息,减少重复的录入工作。
![]() |
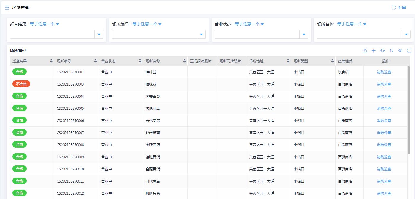
场所管理报表自定义查询
场所巡检结果通过报表的形式进行汇总后,可借助自定义字段进行筛选查询,例如可以快捷地筛选巡查结果为“不合格”的场所进行统一整顿,提高办事人员的效率。
![]() |
消防巡查自定义表单
表单强大的自定义功能,可以根据消防巡查各阶段要求,制作丰富的个性化统计表单。
![]() |
消防隐患举报外链填写
举报电子表单可以通过链接或者二维码的形式在各街道进行宣传推广,民众点击跳转链接或直接用微信扫一扫就可以进行举报。后台第一时间收到举报投诉可以快速进行处理。
![]() |
消防大数据看板
消防巡查的各项指标信息都可以汇总到数字大屏呈现,包括场所合格情况、隐患信息统计、网格人员工作情况等,可视化的数据呈现能够帮助巡查人员快速捕捉重要数据动态,及时安排巡查工作。
![]() |
接入六米云系统后,无论是场所的巡检还是巡查,相关工作人员通过六米云平台的移动办公功能,可以将每一次巡检的记录在第一时间录入系统中,大大简化了工作流程和强度,增强了数据的时效性和准确性。
六米云平台的数据分析功能,帮助工作人员在第一时间察觉出现的问题,并通过六米云平台的消息通知功能,让相关负责人可以在第一时间获得第一手数据,节约了大量的分析决策、通知送达时间。






